






€ 90,10
€ 74,95
- Ruim 40 jaar ervaring in scheepstechniek!
- Eenvoudig besteld, snel geleverd!
- Online retourneren: snel & eenvoudig!














• Staal, gegalvaniseerd
• Schacht in gegoten staal, vloeien in gegoten staal met stalen plaat
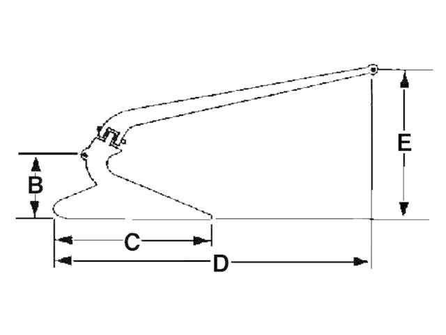
Gewicht kg | ± Max. Lengte schip mtr | A mm | B mm | C mm | D mm | E mm | F mm |
7 | 6,5 | 230 | 130 | 340 | 660 | 240 | 470 |
9 | 8,0 | 260 | 140 | 355 | 710 | 305 | 530 |
12 | 9,0 | 295 | 150 | 390 | 770 | 350 | 585 |
15 | 11,0 | 310 | 160 | 430 | 900 | 355 | 690 |
22 | 13,0 | 310 | 190 | 465 | 960 | 400 | 755 |
Toon meer
Toon minder
Toon meer
Toon minder
Toon meer
Toon minder

