

            € 641,30                                    	                                  
- Met een 9,2 beoordeeld!
- Achteraf betalen mogelijk
- Ruilen of retourneren geen probleem




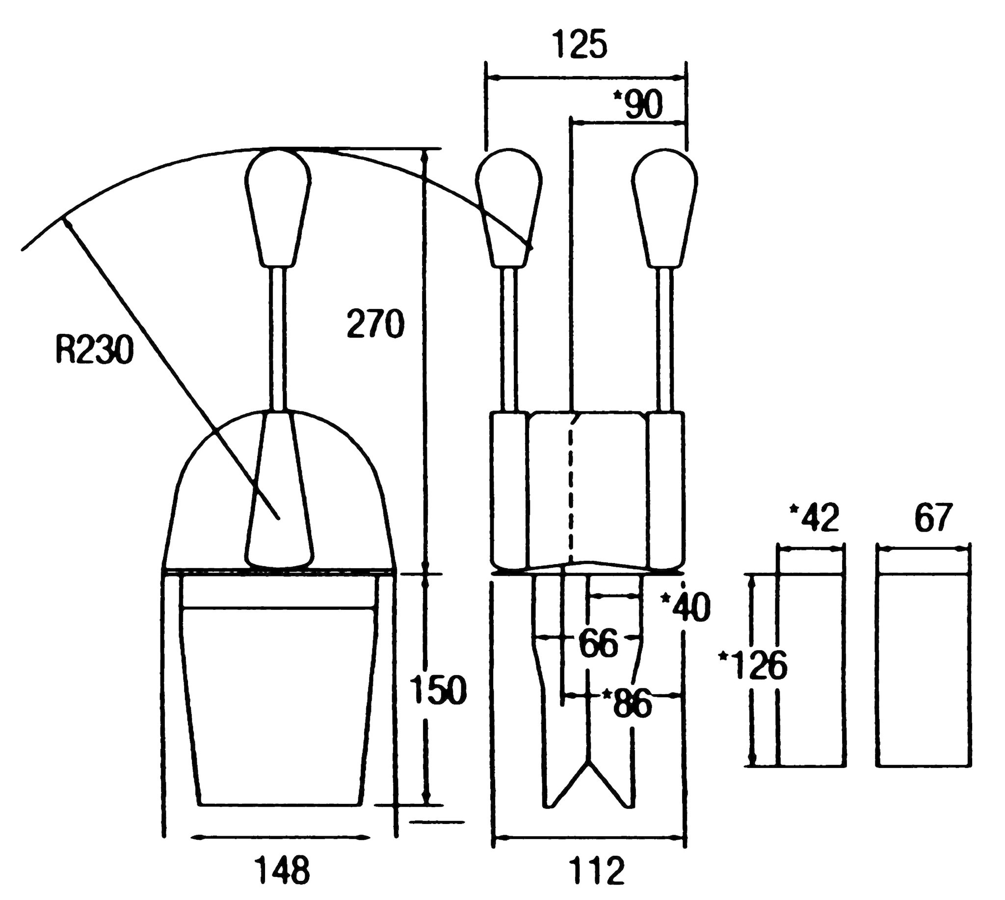
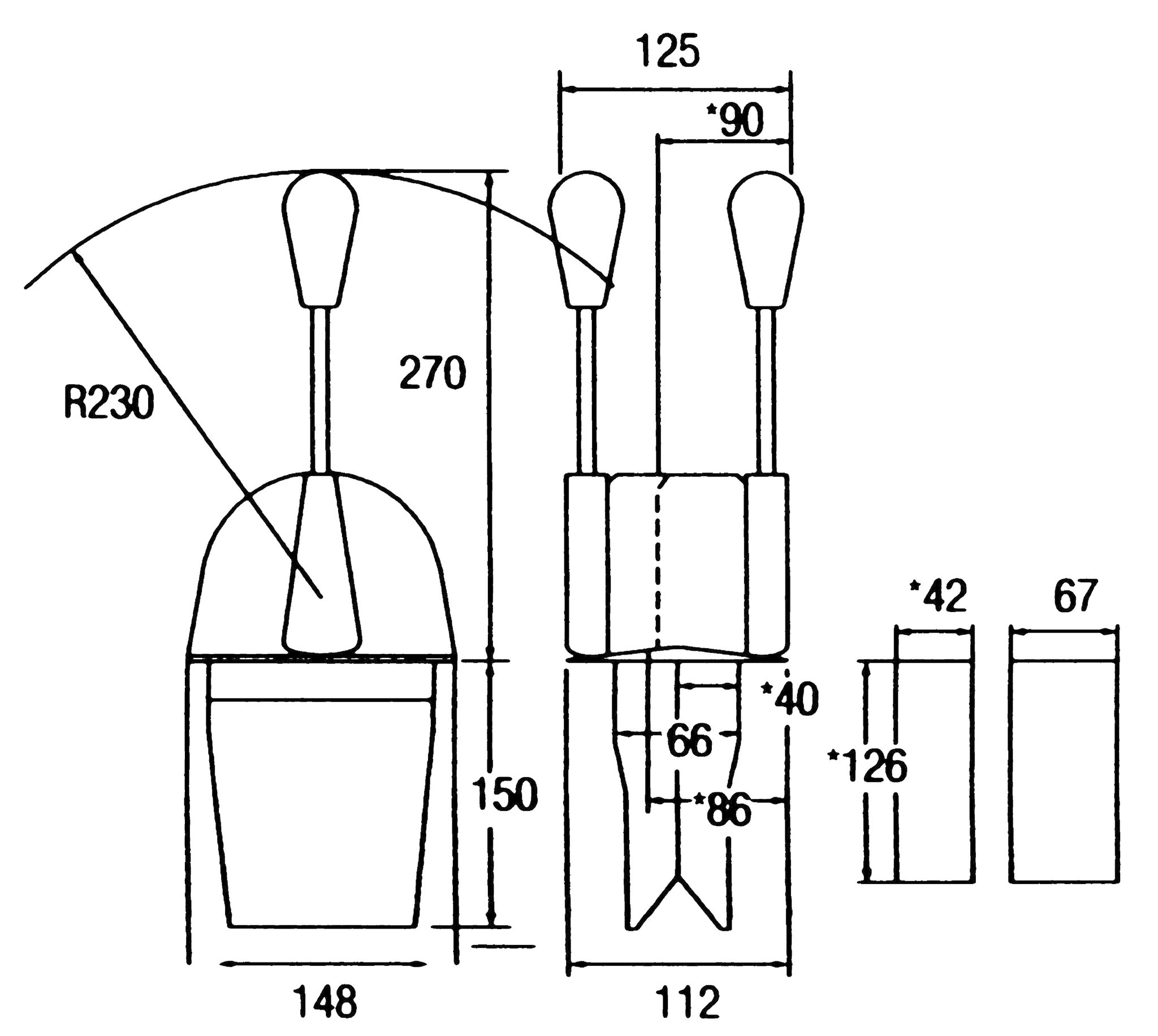
Motorbediening NB Single Topmontage enkelwerkende één-handel control voor gas
Toon meer
Toon minder
Toon meer
Toon minder
Toon meer
Toon minder

